【简介】此次优化涉及【会员管理】和【会议管理】模块。
① 优化地址填写方式,灵活组合字段,满足不同的填写需求:在【会员管理】模块中,【会员基础设置】à【属性设置】中地址字段的填写支持省、市、区、详细地址单独开启和关闭。
② 主账号管理员增加【删除】会员,丰富管理功能,删除时线索会同步删除但保留操作日志。
③ 增加搜索和排序,灵活会议管理:会议列表支持按提交者姓名进行筛选,并且可支持管理员按照部分字段(会议时间、会议类型、提交者、提交时间)对会议列表进行排序。
④ 增加提示文案提示时间,便于用户完成操作,提升体验:在【会议管理】中,点击【下载文档】需要补填邮箱,前期提示时间过短,现增加提示文案的显示时间,便于用户有足够的反应时间获取信息完善指引,顺利补填邮箱。
1. 会员管理à基础字段设置
(1)C端会员表单中地址字段的省市区:默认在【省/市】【市/区】【区/县】选项。
功能说明:
如果管理员没有在后台【会员基础设置】à【属性设置】中对地址字段进行设置,系统默认为【省/市】【市/区】【区/县】。因此用户在C端填写表单时,地址字段默认为【省/市】【市/区】【区/县】。

(2)后台【地址】字段支持省、市、区、详细地址单独开启或关闭。

功能说明:
① 地址字段新增启用字段设置,支持省、市、区、详细地址的单独开启和关闭。
管理员可以在后台对地址字段进行设置,可以选择开启省、省市、省市区,也可以不开启省市区,只开启详细地址。
② 地址字段做补全更新:例如用户首次仅输入了省市,第二次仅输入了详细地址。后台信息能显示:省、市、详细地址。而不是仅显示详细地址。
交互说明:
默认勾选【省】【市】【区】【详细地址】。
勾选或取消勾选【省】时,【省】【市】【区】【详细地址】联动勾选或取消勾选。
勾选【市】时,【省】【市】联动勾选。
取消勾选【市】时,【市】【区】联动取消勾选。
勾选【区】时,【省】【市】【区】联动勾选。
取消勾选【区】时,【省】【市】【区】联动取消勾选。
勾选或取消勾选【详细地址】时,不联动勾选其他选项,仅勾选【详细地址】。

涉及改动范围(地址字段的改变,涉及到所有包含地址字段的页面)
1、会员个人资料
2、会员注册页、新会员注册页
3、自定义表单
4、落地页>纯表单页面
5、线索C端
6、社交销售小程序>资料录入页
7、会议C端表单
8、会议PC端
9、内容PC端
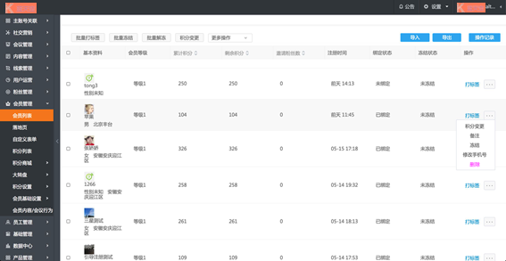
2. 会员管理>会员列表

功能说明:
1、操作列新增【删除】会员功能,子账号【删除操作不可见】。点击删除有需二次确认弹层。
主账号管理员增加【删除】会员功能,但子账号的管理员不具有这项功能
2、删除会员后,同步删除线索。
由于会员列表和线索管理之间的数据同步,因此删除会员列表中的会员,线索列表中该会员的信息也将被删除。
3、删除会员后,生成系统操作日志(如图)。

3. 会议管理>会议列表

功能说明:
(1)展示提交人和提交时间,支持按提交人搜索。
会员列表增加【提交人】和【提交时间】字段,管理员可以按照【提交人】字段对会议进行搜索。
(2)可支持表头【会议时间】【会议类型】【会议状态】【会后资料上传】【提交人】【提交时间】升序降序排序。且此排序为后端排序,不影响C端排序。
管理员可以按照【会议时间】【会议类型】【会议状态】【会后资料上传】【提交人】【提交时间】等字段对会议列表进行排序。同时管理员在后台对会议列表的排序不会影响C端对会议列表的排序。
4. C端补填邮箱交互优化
用户在【会议管理】中,点击【下载文档】需要补填邮箱,通过此次优化,可以增加提示文案的显示时间,便于用户有足够时间来读完提示文案,收到会员完善指引,顺利补填邮箱。